Samsung Display, filial de Samsung Electronics, suele exhibir conceptos en ferias como el Salón de la Electrónica de Consumo (CES) o el Congreso Mundial de Móviles (MWC), entre otras. Por ejemplo, el fabricante de pantallas aprovechó el MWC 2025 para presentar varias innovaciones, entre ellas el Flex Gaming y el Maletín flexible.
Normalmente, estos conceptos se quedan en eso y nunca llegan a la producción en serie. Sin embargo, parece que Samsung Display también utilizó el MWC 2025 para bromear con los paneles plegables que sustentarán el primer tríptico de consumo y el sucesor del Galaxy Z Fold6 (actualmente 1.099 $ - se renueva en Amazon).
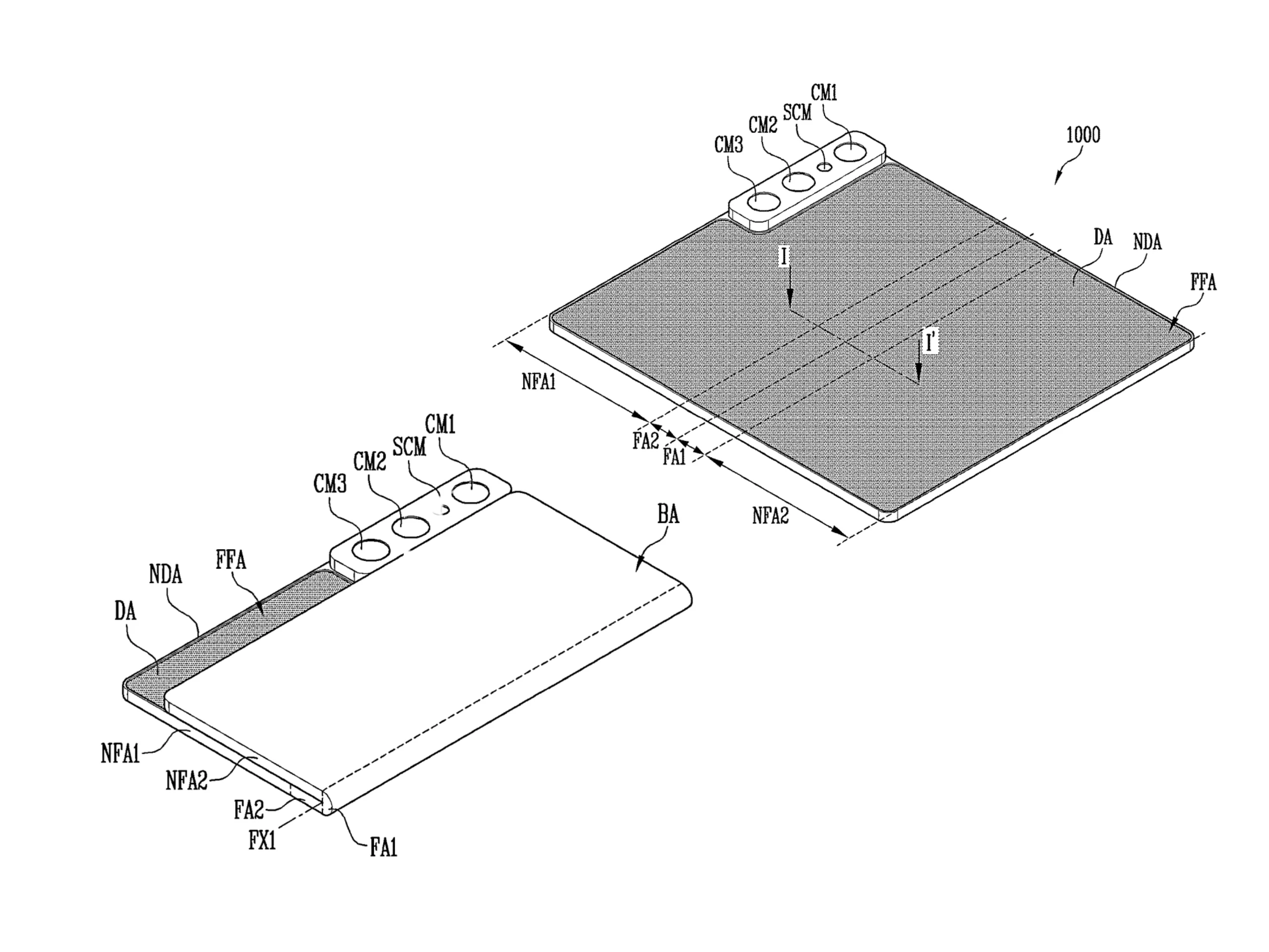
Ahora, la empresa ha recibido la aprobación de diseño de la Oficina de Patentes y Marcas de Estados Unidos (USPTO) para un factor de forma plegable totalmente nuevo. Como muestran los dibujos de la patente que figuran a continuación, este concepto puede plegar su pantalla hacia dentro y hacia fuera en lugar de hacerlo en un solo sentido como los plegables de consumo existentes. En efecto, el concepto combina los principios del Galaxy Z Fold y del Huawei Mate Xs o Mate Xs 2 en un solo dispositivo.
El diseño patentado difiere del Flex In N Out que Samsung Display mostró durante el CES 2023 hace más de dos años. Recapitulando, el Flex In N Out parecía un plegable normal que podía plegarse hacia dentro y hacia fuera. En cambio, el nuevo concepto de Samsung Display deja expuesta una parte de la pantalla bajo su imaginado conjunto de triple cámara. Aunque las posibilidades de que este diseño llegue a materializarse son escasas, es posible que finalmente veamos a Samsung Display exhibir un ejemplo real en una futura feria, tal y como hizo a principios de este año con el Flex Gaming.
Top 10 Análisis
» Top 10 Portátiles Multimedia
» Top 10 Portátiles de Juego
» Top 10 Portátiles de Juego ligeros
» Top 10 Portátiles Asequibles de Oficina/Empresa
» Top 10 Portátiles de Juego Ligeros
» Top 10 Portátiles de Oficina/Empresa Premium
» Top 10 Estaciones de Trabajo
» Top 10 Subportátiles
» Top 10 Ultrabooks
» Top 10 Convertibles
» Top 10 Tablets
» Top 10 Tablets Windows
» Top 10 Tablets de menos de 250 Euros
» Top 10 Phablets (>5.5")
» Top 10 Smartphones
» Top 10 Smartphones (≤5")
» Top 10 Smartphones de menos de 300 Euros
» Top 10 Smartphones de menos de 120 Euros
» Top 10 Portátiles de menos de 1000 Euros
» Top 10 Portátiles de menos de 500 Euros
» Top 10 Portátiles de menos de 300 Euros
» Los Mejores Displays de Portátiles Analizados por Notebookcheck















