Hace unos meses, macOS 11 reveló algunos detalles sobre la nueva generación de tarjetas gráficas de AMD, y ahora han aparecido nuevos chismes en línea. Comoha resumido Videocardz, se dice que AMD utilizará un módulo multichip (MCM) para su tarjeta gráfica de última generación. Un MCM permitiría a AMD equipar la tarjeta con dos chips gráficos que contendrían cada uno 80 unidades de cálculo (CUs). Por lo tanto, esta tarjeta ofrecería el doble de las CUs que tiene la RX 6900 XT.
Por lo tanto, este MCM proporcionaría a AMD una tarjeta gráfica que tiene 160 CUs, o 10.240 procesadores de flujo. Incluso con una velocidad de reloj conservadora de 1.800 MHz, afirma Wccftech, una tarjeta gráfica de 160 CUs tendría una potencia de cálculo nominal de 36,8 TFLOPs FP32. Por el contrario, la actual tarjeta gráfica insignia de AMD alcanza un pico de 23,04 TFLOPs de rendimiento FP32.
La información sobre las fechas de lanzamiento de la GPU RDNA 3 sigue siendo desconocida, aunque se espera que AMD revele más detalles sobre la arquitectura en algún momento de este año. Además, mientras que una tarjeta de 160 CU con 36,8 TFLOPS FP32 suena prometedora, las tarjetas NVIDIA tienen una ventaja con Deep Learning Super Sampling 2.0 (DLSS 2.0). Como los juegos como Cyberpunk 2077 han mostrado, el renderizado de IA que permite DLSS 2.0 permite a las tarjetas RTX GeForce de NVIDIA producir gráficos de trazado de rayos en tiempo real en mayores framases de lo que podrían hacerlo de forma nativa. AMD afirma que la Súper Resolución FidelityFX será una alternativa de código abierto y plataforma abierta a la DLSS 2.0, pero aún no hemos visto ningún ejemplo de ello en acción.
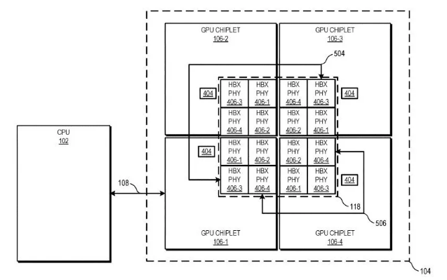
Por cierto, una patente presentada en 2019 por AMD en la Oficina de Patentes y Marcas de los Estados Unidos (USPTO) describe cómo podría funcionar un diseño de múltiples chips. FreePatentsOnlineha vuelto a publicar la patente, que puedes leer aquí. En efecto, estos chiplets de GPU se comunicarían a través de un enlace cruzado, como lo hacen los chiplets de CPU de AMD usando Infinity Fabric. Dudamos que el Navi 31 utilice enlaces cruzados HBX dado lo reciente que AMD ha registrado esta patente, pero puedes leer más sobre la patente en nuestro artículo correspondiente.
Fuente(s)
@Underfox3 & @Kepler_L2 via Videocardz & Wccftech , FreePatentsOnline
Top 10 Análisis
» Top 10 Portátiles Multimedia
» Top 10 Portátiles de Juego
» Top 10 Portátiles de Juego ligeros
» Top 10 Portátiles Asequibles de Oficina/Empresa
» Top 10 Portátiles de Juego Ligeros
» Top 10 Portátiles de Oficina/Empresa Premium
» Top 10 Estaciones de Trabajo
» Top 10 Subportátiles
» Top 10 Ultrabooks
» Top 10 Convertibles
» Top 10 Tablets
» Top 10 Tablets Windows
» Top 10 Tablets de menos de 250 Euros
» Top 10 Phablets (>5.5")
» Top 10 Smartphones
» Top 10 Smartphones (≤5")
» Top 10 Smartphones de menos de 300 Euros
» Top 10 Smartphones de menos de 120 Euros
» Top 10 Portátiles de menos de 1000 Euros
» Top 10 Portátiles de menos de 500 Euros
» Top 10 Portátiles de menos de 300 Euros
» Los Mejores Displays de Portátiles Analizados por Notebookcheck













