En una nueva patente descubierta por tech4gamers.com, AMD expresa su preocupación por los límites de ancho de banda del estándar DDR5, especialmente ahora con la creciente demanda de potencia de cálculo para IA. Mientras que Nvidia y los fabricantes de chips de memoria como Samsung, SK Hynix y Micron se están centrando en el SOCAMM2 estándar, AMD propone una alternativa que sería más fácil de implementar en los sistemas DDR5 existentes, ya sean soluciones de consumo o para centros de datos.
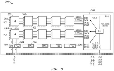
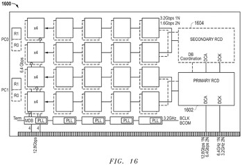
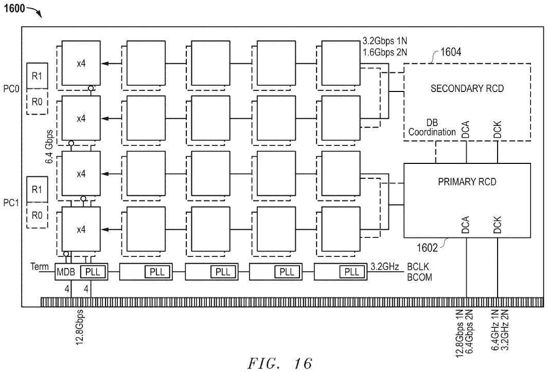
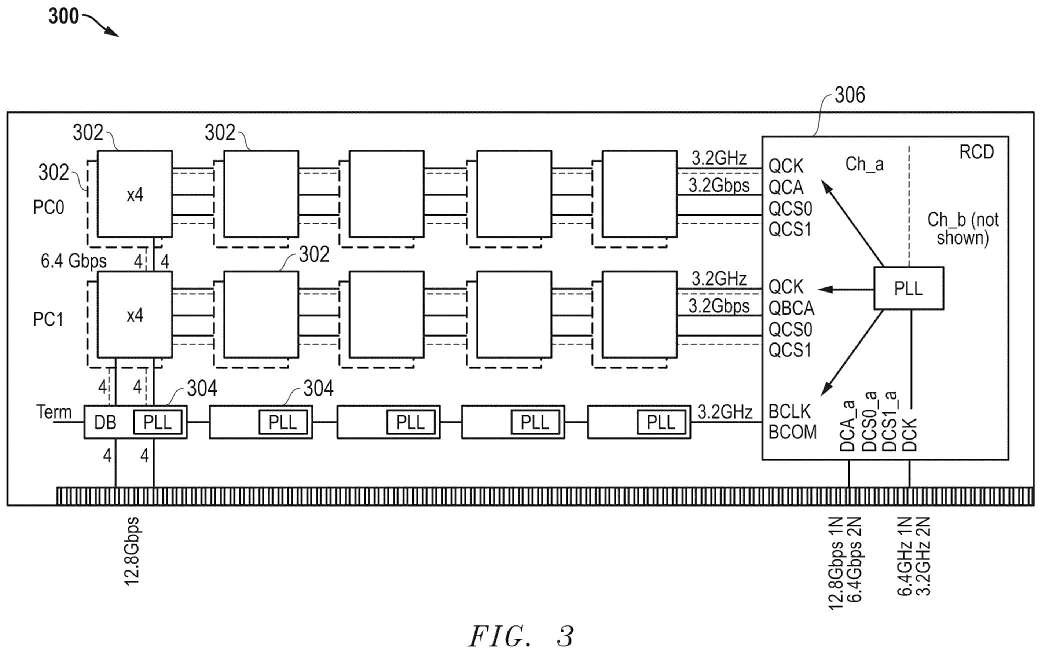
El estándar de memoria mejorado de AMD implica "una arquitectura de módulos de memoria de gran ancho de banda" que esencialmente duplica el ancho de banda máximo actual de DDR5 de 6,4 Gbps. Es importante señalar aquí que el ancho de banda de 12,8 Gbps se consigue sin modificar los diseños de los chips DRAM. En su lugar, los chips DRAM se colocan en un módulo de memoria en línea dual de gran ancho de banda (HB-DIMM). Los módulos también integran una serie de componentes de hardware adicionales, como chips de búfer especiales que permiten transferencias de datos dos veces más rápidas de lo que permitiría la norma DDR5. Además, el módulo hace uso de controladores de reloj de registro (RCD) que enrutan las señales de forma más eficiente, paralelizando el acceso a la memoria y rompiendo así los límites de rendimiento del estándar DDR5.
La solicitud de patente señala que los módulos HB-DIMM permiten cambiar rápidamente entre los modos de pseudocanal y cuádruple rango, lo que hace que la solución sea viable para HPC, casos de uso de IA, así como sistemas de juegos. La compatibilidad con DDR5 está garantizada con la ayuda de modos de reloj flexibles, además de un formato de transferencia de datos no entrelazado que mantiene la integridad de la señal y una baja latencia.
Parece que HB-DIMM es muy similar al estándar MRDIMM (Multiplexed Rank Dual Inline Memory Modules) existente de Micron. Sin embargo, MRDIMM sólo está disponible para la plataforma Xeon Granite Rapids de Intel, por lo que es probable que AMD esté buscando algo similar para los futuros procesadores EPYC. Phoronix publicó recientemente una prueba de DDR5-6400 frente a MRDIMM-8800 y el estándar propietario de Micron parece ser efectivamente más rápido, pero desde luego no el doble de rápido que DDR5.
SOCAMM2 cuenta actualmente con más apoyo en la industria, por lo que el HB-DIMM de AMD podría tener dificultades para ser adoptado, al menos en lo que se refiere a los sectores de HPC y servidores.
Fuente(s)
vía Techradar / Tech4Gamers / OC3D.net
Top 10 Análisis
» Top 10 Portátiles Multimedia
» Top 10 Portátiles de Juego
» Top 10 Portátiles de Juego ligeros
» Top 10 Portátiles Asequibles de Oficina/Empresa
» Top 10 Portátiles de Juego Ligeros
» Top 10 Portátiles de Oficina/Empresa Premium
» Top 10 Estaciones de Trabajo
» Top 10 Subportátiles
» Top 10 Ultrabooks
» Top 10 Convertibles
» Top 10 Tablets
» Top 10 Tablets Windows
» Top 10 Tablets de menos de 250 Euros
» Top 10 Phablets (>5.5")
» Top 10 Smartphones
» Top 10 Smartphones (≤5")
» Top 10 Smartphones de menos de 300 Euros
» Top 10 Smartphones de menos de 120 Euros
» Top 10 Portátiles de menos de 1000 Euros
» Top 10 Portátiles de menos de 500 Euros
» Top 10 Portátiles de menos de 300 Euros
» Los Mejores Displays de Portátiles Analizados por Notebookcheck








