Toyota está trabajando en una transmisión manual simulada para algunos de sus VE. En 2022 se vio una solicitud de patente en Japón, y una nueva publicación de solicitud de patente en EE.UU que sugiere que la empresa también podría desplegar la tecnología en este mercado. En una presentación en https://media.toyota.co.uk/toyota-unveils-new-technology-that-will-change-the-future-of-cars/ a principios de este año, Toyota anunció sus intenciones de desarrollar hardware y software para vehículos eléctricos de batería, lo que les permitiría disponer de funciones de control de conducción y embrague.
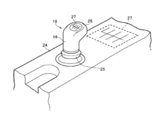
La patente estadounidense de Toyota detalla una transmisión manual virtual, que utiliza una palanca de cambios de diseño similar a las que se ven en un coche manual típico. Los dibujos muestran el dispositivo de cambio con un patrón que indica al conductor dónde se encuentra cada etapa de marcha virtual y sugieren que podría utilizarse el mismo recorrido transversal del selector. Las etapas se correlacionan con los niveles de par que generará el motor eléctrico. La presentación afirma que Toyota está considerando opciones para vehículos no limitados a seis o siete velocidades, como son los típicos coches manuales. Además, los usuarios podrían seleccionar entre varios patrones de par para adaptarse a su estilo de conducción preferido.
Toyota ya está probando esta tecnología en un Lexus UX300e EV. Quienes han conducido el EV manual conceptual describen la experiencia de conducción como divertida y señalan que es posible "calar" el vehículo. Queda por ver si la tecnología podría estar disponible para su adquisición en un VE del Grupo Toyota o cuándo. Los rumores sugieren que el concepto FT-Se, mostrado en el Salón de la Movilidad de Japón 2023, podría ser uno de los primeros modelos con una transmisión manual virtual.
Fuente(s)
Top 10 Análisis
» Top 10 Portátiles Multimedia
» Top 10 Portátiles de Juego
» Top 10 Portátiles de Juego ligeros
» Top 10 Portátiles Asequibles de Oficina/Empresa
» Top 10 Portátiles de Juego Ligeros
» Top 10 Portátiles de Oficina/Empresa Premium
» Top 10 Estaciones de Trabajo
» Top 10 Subportátiles
» Top 10 Ultrabooks
» Top 10 Convertibles
» Top 10 Tablets
» Top 10 Tablets Windows
» Top 10 Tablets de menos de 250 Euros
» Top 10 Phablets (>5.5")
» Top 10 Smartphones
» Top 10 Smartphones (≤5")
» Top 10 Smartphones de menos de 300 Euros
» Top 10 Smartphones de menos de 120 Euros
» Top 10 Portátiles de menos de 1000 Euros
» Top 10 Portátiles de menos de 500 Euros
» Top 10 Portátiles de menos de 300 Euros
» Los Mejores Displays de Portátiles Analizados por Notebookcheck










