Una nueva patente sugiere que el Lápiz de Manzana podría eventualmente obtener una nueva e interesante característica. De acuerdo con un archivo recientemente publicado por la Oficina de Patentes y Marcas de los Estados Unidos, Apple podría estar desarrollando un nuevo Lápiz de Manzana que puede escanear y copiar colores de objetos del mundo real.
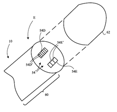
La patente, que fue presentada el 3 de noviembre de 2019 y publicada el 16 de julio de 2020, detalla un "lápiz de computadora" con una "pluralidad de fotodetectores, cada uno de los cuales mide la luz para un canal de color receptivo diferente". En términos simples, este archivo es para un lápiz (probablemente el Lápiz de Manzana) que tiene un sensor que le permite escanear y copiar los colores de los objetos del mundo real.
Según los dibujos incluidos en la patente, el sensor de color estaría ubicado en la parte trasera del Lápiz de Manzana (donde está el borrador) o en la punta del lápiz. (Nótese que la patente estipula que el sensor de color podría estar ubicado "en otro lugar del dispositivo", pero estas dos ubicaciones se detallan en los dibujos y tienen el mayor sentido). La carcasa del sensor de color también puede tener una fuente de iluminación para iluminar los objetos para mejorar la precisión y las lecturas de color consistentes.
Ten en cuenta que Apple presenta miles de patentes cada año, y la mayoría de ellas nunca se utilizan en productos futuros. Sin embargo, un Lápiz de Apple con sensor de color podría ser una herramienta útil para los artistas y diferenciaría aún más al iPad de otras tabletas en el mercado.
¿Qué piensas de la nueva patente del Lápiz de Apple? ¿Comprarías un Lápiz de Manzana que pudiera captar los colores de los objetos del mundo real? Háganoslo saber en los comentarios.
Top 10 Análisis
» Top 10 Portátiles Multimedia
» Top 10 Portátiles de Juego
» Top 10 Portátiles de Juego ligeros
» Top 10 Portátiles Asequibles de Oficina/Empresa
» Top 10 Portátiles de Juego Ligeros
» Top 10 Portátiles de Oficina/Empresa Premium
» Top 10 Estaciones de Trabajo
» Top 10 Subportátiles
» Top 10 Ultrabooks
» Top 10 Convertibles
» Top 10 Tablets
» Top 10 Tablets Windows
» Top 10 Tablets de menos de 250 Euros
» Top 10 Phablets (>5.5")
» Top 10 Smartphones
» Top 10 Smartphones (≤5")
» Top 10 Smartphones de menos de 300 Euros
» Top 10 Smartphones de menos de 120 Euros
» Top 10 Portátiles de menos de 1000 Euros
» Top 10 Portátiles de menos de 500 Euros
» Top 10 Portátiles de menos de 300 Euros
» Los Mejores Displays de Portátiles Analizados por Notebookcheck



















